Archivée - Lignes directrices concernant les ententes sur les services essentiels
Cette page Web a été archivée dans le Web
L’information dont il est indiqué qu’elle est archivée est fournie à des fins de référence, de recherche ou de tenue de documents. Elle n’est pas assujettie aux normes Web du gouvernement du Canada et elle n’a pas été modifiée ou mise à jour depuis son archivage. Pour obtenir cette information dans un autre format, veuillez communiquer avec nous.
1. Introduction et remerciements
Le présent document décrit le processus de mise en place des ententes sur les services essentiels. Ce processus est conforme aux dispositions et aux échéanciers prévus dans la Loi sur la modernisation de la fonction publique (LMFP), qui sont habituellement liés au calendrier de négociation collective.
Il est à noter que rien dans la Loi sur les relations de travail dans la fonction publique (LRTFP) n'empêche les parties de négocier ou de modifier une entente sur les services essentiels à l'extérieur du calendrier de négociation collective. Il se peut en fait qu'il soit plus facile de conclure une entente à ce moment. Les parties peuvent envisager cette possibilité; si elles décident par contre de négocier ou de modifier une entente pendant une ronde de négociation collective, elles doivent être conscientes des délais prévus dans la loi et les respecter.
Nous tenons à remercier les représentants des ministères et des agents négociateurs qui nous ont aidés à préparer ces lignes directrices.
2. Fondement législatif
La LRTFP, articles 119 à 134, telle qu'elle est promulguée dans la LMFP, prévoit une nouvelle formule pour assurer la prestation des services essentiels à la population pendant une grève. Cette formule a été conçue de manière à régler les problèmes liés au processus de désignation qui avaient été soulevés, et à améliorer la collaboration entre les employeurs et les agents négociateurs sur les questions touchant les services essentiels.
3. Application
Les présentes lignes directrices s'appliquent aux ministères et organismes énoncés dans les annexes I et IV de la Loi sur la gestion des finances publiques et dont l'employeur est le Conseil du Trésor.
4. Terminologie
Les divers termes utilisés dans les présentes lignes directrices (arbitrage, agent négociateur, unité de négociation, commission (Commission des relations de travail dans la fonction publique - CRTFP), convention collective, conciliation, fonctionnaire, employeur, sécurité, grève, etc.) sont définis dans la LRTFP.
4.1 Service essentiel – Définition
Au paragraphe 4(1) de la LRTFP, on définit un « service essentiel » comme suit : « Services, installations ou activités du gouvernement du Canada qui sont ou seront nécessaires à la sécurité de tout ou partie du public ». Un service doit être désigné comme essentiel lorsqu'il existe des motifs raisonnables de reconnaître la probabilité, voire la possibilité, que la vie humaine ou la sécurité publique soit menacée si un arrêt de travail interrompt les obligations de ces fonctionnaires. Il est à noter que cela inclut les postes dont les titulaires doivent être en mesure de se présenter au travail sans délai à l'extérieur de leurs heures de travail pour dispenser les services essentiels.
Voici quelques exemples de programmes gouvernementaux pouvant être considérés comme essentiels :
- sécurité frontalière
- services correctionnels
- inspection des aliments
- soins de santé
- enquêtes de sécurité relativement à un accident
- sécurité du revenu et sécurité sociale
- sécurité maritime
- sécurité nationale
- application de la loi
- recherche et sauvetage
4.2 Entente sur les services essentiels – Définition
Dans la LRTFP, on définit l'« entente sur les services essentiels » comme suit : « Entente conclue par l'employeur et l'agent négociateur indiquant : a) les types des postes compris dans l'unité de négociation représentée par l'agent négociateur qui sont nécessaires pour permettre à l'employeur de fournir les services essentiels; b) le nombre de ces postes qui est nécessaire pour permettre à l'employeur de fournir ces services; c) les postes en question. »
L'employeur conserve le droit exclusif de déterminer le niveau de service requis, y compris dans quelle mesure et selon quelle fréquence. Les parties peuvent toutefois négocier le nombre de fonctionnaires requis pour fournir les services essentiels au niveau déterminé par l'employeur ainsi que les postes en question. L'employeur peut, par exemple, décider que deux salles doivent demeurer ouvertes dans un hôpital pour anciens combattants afin de fournir les soins nécessaires aux patients (plutôt qu'une seule comptant beaucoup de fonctionnaires); ou encore décider que les chèques d'assurance-emploi doivent continuer d'être envoyés aux deux semaines (plutôt qu'une fois par mois), et il peut décider quelles opérations sont nécessaires pour répondre à ce besoin.
Dans les cas où une partie seulement des tâches d'un fonctionnaire sont liées à un service nécessaire pour assurer la sécurité du public, les parties peuvent s'entendre pour qu'un nombre moindre de fonctionnaires qu'en temps normal soit nécessaire pour fournir le service requis au niveau déterminé en affectant les fonctionnaires « à temps plein » aux tâches liées à la sécurité. Les exemples qui suivent illustrent ce qui précède. Si 20 fonctionnaires consacrent normalement 50 p. 100 de leur temps à des tâches liées à un service essentiel, 10 de ces fonctionnaires pourront, pendant une grève, consacrer 100 p. 100 de leur temps à ces tâches, permettant ainsi aux 10 autres d'exercer leur droit de grève.
Le calcul du nombre de fonctionnaires requis pour assurer un service essentiel se fait en fonction de ce qui suit :
- on ne tient pas compte de la disponibilité d'autres personnes (fonctionnaires non représentés et gestionnaires par exemple) pour fournir le service essentiel pendant une grève;
- l'employeur n'a pas à changer le cours normal de ses opérations, notamment en ce qui concerne les heures normales de travail, la mesure dans laquelle il a recours aux heures supplémentaires et le matériel qu'il utilise.
La CRTFP ne cherche pas à établir un équilibre entre le droit de grève des fonctionnaires et l'obligation de fournir les services essentiels à la population. La seule question à laquelle elle tente de répondre est de savoir si les tâches du poste sont liées à la sécurité du public. On trouvera à l'annexe A d'autres principes, établis sous l'ancienne Loi sur les relations de travail dans la fonction publique, qui peuvent être pris en compte au moment de mettre en place une entente sur les services essentiels.
5. Processus
5.1 Entente initiale
Les ministères et les agents négociateurs doivent déterminer quel type de postes (en fonction du type de tâches), leur nombre et les postes en question sont nécessaires pour fournir les services essentiels pendant une grève. On vise ainsi à ce que les parties collaborent et parviennent à un consensus sur la conclusion d'une entente sur les services essentiels. Le dialogue entre les ministères et les agents négociateurs peut débuter au niveau local ou régional et remonter jusqu'au niveau national où l'entente sera conclue. Comme alternative, les négociations pourraient débuter au niveau ministériel national et être basées sur un patron qui recevrait une vérification locale ou régionale. Les comités consultatifs patronaux-syndicaux au sein des ministères peuvent être très utiles à cet égard si les agents négociateurs en conviennent.
5.1.1 Avis de négocier
Les délais prescrits par la loi à respecter dans le cadre du processus de négociation d'une entente sur les services essentiels sont fixés à partir de la date de l'avis de négocier. Les agents négociateurs peuvent faire parvenir cet avis :
- n'importe quand, si aucune convention collective ou décision arbitrale n'est en vigueur;
- dans les quatre derniers mois d'application, si une convention collective ou une décision arbitrale est en vigueur.
Lors de chaque ronde de négociation collective, et avant que l'avis de négocier ne soit envoyé, l'agent négociateur doit choisir le mode de règlement des différends : l'arbitrage ou la conciliation. Lorsqu'il choisit la conciliation, la question des ententes sur les services essentiels doit être réglée. Si l'employeur est d'avis que certains fonctionnaires faisant partie d'une unité de négociation dispensent des services essentiels, il doit faire parvenir un avis à l'agent négociateur lui demandant d'entreprendre des négociations pour conclure une entente sur les services essentiels. L'employeur peut faire parvenir cet avis n'importe quand, mais au plus tard dans les 20 jours après l'envoi de l'avis de négocier. Une fois l'avis donné, les parties doivent faire tout effort raisonnable pour conclure une entente.
On trouvera à l'annexe B un calendrier et un organigramme illustrant l'enchaînement des activités et les délais entourant la conclusion d'une entente sur les services essentiels.
5.1.2 Responsabilités des ministères
Suivant les conseils et les directives des représentants du Secrétariat du Conseil du Trésor, les responsables des ressources humaines (c.-à-d. des relations de travail) au sein des ministères doivent :
- conseiller et guider les gestionnaires (p. ex. : les assister dans la préparation de documents ou de motifs ou encore pendant les négociations);
- veiller à ce que les avis et les ententes soient envoyés au Secrétariat du Conseil du Trésor pour fins de dossiers;
- veiller à ce que les fonctionnaires occupant des postes désignés essentiels en soient avisés;
- veiller à ce que les fonctionnaires occupant des postes désignés essentiels soient identifiés comme tels dans les systèmes de GRH du ministère, dans la base de données du Secrétariat du Conseil du Trésor et dans le système de rémunération de Travaux publiques et services gouvernementaux Canada (TPSGC).
Suivant les conseils et les directives des responsables des ressources humaines (c.-à-d. des relations de travail), les gestionnaires des ministères doivent :
- établir le niveau auquel un service essentiel doit être fourni;
- examiner les postes au sein de leur organisation et déterminer le nombre de postes qui sont nécessaires pour assurer la prestation des services essentiels;
- justifier les décisions (le formulaire d'examen de poste concernant les services essentiels proposé à l'annexe C peut être utilisé à cette fin);
- négocier les ententes sur les services essentiels avec les représentants des agents négociateurs là où les agents sont autorisés de négocier à ce niveau;
- produire les documents requis;
- aviser les fonctionnaires occupant des postes considérés comme essentiels de ce que cela implique.
5.1.3 Secrétariat du Conseil du Trésor
Le Secrétariat du Conseil du Trésor doit :
- aviser les ministères qu'un avis de négocier a été reçu et qu'il faut mettre en branle le processus de négociation, ou de modification, de l'entente sur les services essentiels (Nota : comme il est mentionné précédemment, on encourage les parties à négocier les ententes sur les services essentiels à l'extérieur du calendrier de négociation collective);
- aviser les agents négociateurs que les ministères enclencheront le processus de négociation, ou de modification, de l'entente sur les services essentiels;
- fournir des conseils et des directives aux responsables des ministères;
- examiner, à la demande d'un ministère, tout différend, avant qu'un avis d'impasse soit envoyé à la CRTFP;
- faire parvenir les avis et les ententes aux agents négociateurs et à la CRTFP, s'il y a lieu;
- mener des consultations ou faire la liaison au niveau national concernant les ententes sur les services essentiels;
- représenter l'employeur devant la CRTFP;
- conserver une base de données sur les postes considérés comme essentiels;
- surveiller le rendement des ministères afin de s'assurer qu'ils respectent les dispositions de la LRTFP;
- revoir, au besoin, les instruments de politique.
5.1.4 Négociations bilatérales
Lorsque le niveau de service et le nombre de postes ont été établis, les représentants du ministère et de l'agent négociateur doivent se rencontrer pour examiner chaque poste de l'unité de négociation et établir s'il est essentiel pour assurer la sécurité du public. (Rien n'empêche les parties d'effectuer cet examen beaucoup plus tôt. En fait, plus les parties entreprennent cet examen tôt, plus elles ont de temps pour le mener à terme.) Pendant l'examen initial, les parties vont soit :
- s'entendre pour qualifier un poste d'essentiel;
- s'entendre pour qualifier un poste de non essentiel;
- être en désaccord.
Les parties doivent faire tout effort raisonnable pour conclure une entente. Les ministères et les agents négociateurs peuvent établir conjointement le processus de négociation et négocier des accords sur le niveau de négociation nécessaire pour conclure une entente sur les services essentiels. Voici un exemple : les négociations entre les gestionnaires, avec l'aide des responsables des ressources humaines (c.-à-d. les relations de travail) au sein des ministères et les agents négociateurs doivent débuter au niveau local ou régional et remonter jusqu'au niveau national où l'entente sera conclue. Si les parties en conviennent, cette tâche peut être confiée aux comités consultatifs patronaux-syndicaux.
Selon la taille du ministère et l'agent négociateur en cause, la conclusion d'une entente sur les services essentiels peut se faire à divers niveaux et de différentes façons, notamment :
- l'entente peut être conclue au niveau local, sanctionnée au niveau régional et notifiée au niveau national;
- l'entente peut être conclue au niveau local, examinée au niveau régional et sanctionnée au niveau national;
- l'entente peut être conclue au niveau régional, examinée et sanctionnée au niveau national;
- l'entente peut être conclue au niveau national basée sur des données locales.
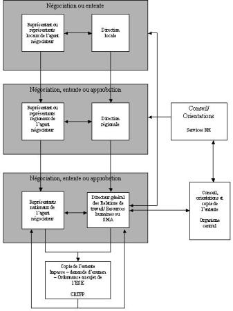
On convient en général que les connaissances relatives aux fonctions et au niveau de service requis se trouvent là où les opérations se déroulent. Dans les grands ministères, c'est habituellement au niveau local. Les ententes préliminaires sur les services essentiels peuvent être conclues au niveau local/opérationnel et être examinées au niveau supérieur pour assurer une application uniforme dans toute la région ou à l'échelle nationale. Comme alternative, certains agents négociateurs voudront négocier au niveau national pour un ministère au complet lorsque le ministère aura fourni ses données et une rationale. Le diagramme de l'annexe D illustre les divers niveaux de négociation/d'approbation.
5.1.5 CRTFP
Il se peut que les parties ne parviennent pas, malgré leurs efforts, à s'entendre sur tous les éléments devant faire partie de l'entente sur les services essentiels. Dans ce cas, la CRTFP sert d'arbitre.
L'employeur, au nom d'un ministère, ou l'agent négociateur, peuvent tous les deux présenter une demande à la CRTFP s'ils ne parviennent pas à s'entendre sur les termes d'une entente sur les services essentiels. La demande doit être présentée au plus tard 15 jours après que l'une ou l'autre des parties a demandé la conciliation ou que le président les ait renvoyés en conciliation de sa propre initiative.
La CRTFP peut reporter le traitement d'une demande si les parties n'ont pas négocié suffisamment et sérieusement. Elle peut prendre une décision au sujet des points litigieux de l'entente sur les services essentiels, mais elle ne peut modifier le niveau de service prévu par l'employeur, non plus que dans quelle mesure et à quelle fréquence il doit être fourni. La CRTFP rendra une ordonnance lorsqu'elle aura terminé son examen. Le droit de grève est acquis 30 jours francs après la signature d'une entente sur les services essentiels ou la publication d'une ordonnance (c.-à-d. il doit s'écouler 30 jours complets entre les deux), si l'on satisfait aux autres exigences concernant le droit de grève prévues au paragraphe 194(1) de la LRTFP (c.-à-d. que le rapport de la Commission de l'intérêt public (CIP) doit être déposé).
5.1.6 Avis
Comme nous l'avons mentionné précédemment, il revient aux ministères d'informer chaque fonctionnaire occupant un poste de services essentiels qu'il ou elle ne peut participer à une grève. Cela peut être fait au moment de l'embauche initiale dans la lettre d'offre et doit être fait après la conclusion ou la modification d'une entente sur les services essentiels. Dans certaines circonstances, on peut faire des rappels périodiques (lorsque les conditions sur lesquelles repose la détermination des services essentiels sont remises en question). On trouvera un exemple de libellé à l'annexe E.
Il est à noter que lors d'une grève, les fonctionnaires assurant les services essentiels continuent d'avoir droit à tous les avantages prévus dans la convention collective, y compris ceux liés au surtemps, aux rappels au travail, etc.
5.2 Modification d'une ESE
Les ESE demeurent en vigueur jusqu'à ce qu'elles soient modifiées suivant ce qui est prévu dans la LRTFP. On peut modifier une entente notamment pour les raisons suivantes :
- ajout de nouveaux postes;
- suppression de postes;
- remplacement de postes vacants;
- restructuration ministérielle ou gouvernementale;
- changements au niveau de l'affiliation d'un agent négociateur.
Seul l'employeur, au nom d'un ministère, ou l'agent négociateur (et non la CRTFP), peut lancer le processus d'examen en vue d'un changement. La partie qui demande un changement doit avertir l'autre partie par écrit.
L'employeur, au nom d'un ministère, ou l'agent négociateur peut faire parvenir cet avis n'importe quand mais au plus tard 60 jours après qu'un avis de négocier a été envoyé. Les parties doivent alors faire tout effort raisonnable pour modifier dès que possible l'entente sur les services essentiels. Le processus et les délais pour déposer une entente ou régler une impasse sont les mêmes que ceux pour conclure l'entente initiale. (Voir le calendrier/diagramme à l'annexe B.)
Il est à noter que la mise à jour d'une entente sur les services essentiels peut se faire à l'extérieur du calendrier de négociation collective (par exemple, une fois par année, deux fois par année, une fois tous les trois mois ou selon un horaire mutuellement convenu). Les parties doivent toutefois s'assurer de déposer les avis ou les modifications demandés.
5.3 Suspension d'une ESE
Si dans des situations extraordinaires ou urgentes, il est nécessaire de reporter une grève ou d'en minimiser temporairement les effets, l'employeur ou l'agent négociateur peut demander à la CRTFP de modifier ou de suspendre temporairement une entente. Voici quelques exemples de situations envisagées :
- une menace à la sécurité publique (p. ex. : 11 septembre 2001);
- une situation d'urgence environnementale ou sanitaire (p. ex. : inondations de la rivière Rouge);
- toute autre situation d'urgence où les fonctionnaires du gouvernement fédéral doivent être à leurs postes, au-delà de ce qui est prévu dans l'entente sur les services essentiels.
6. Collecte d'information
(à suivre)
7. Renvois
8. Demande de renseignements
Les demandes de renseignements doivent être acheminées aux responsables des ressources humaines au sein des ministères qui, à leur tour, peuvent les transmettre aux organisations suivantes :
- Secteur des relations de travail
- Secrétariat du Conseil du Trésor du Canada
Annexe A - Principes clés
Les principes suivants sont issus de la jurisprudence applicable à l'ancienne LRTFP, au sujet des dispositions sur les désignations de l'ancienne LRTFP. Les dispositions sur les services essentiels diffèrent de celles sous l'ancienne LRTFP mais les exigences qui demandent qu'un service soit nécessaire pour assurer la sécurité du public demeurent les mêmes. Quoique la jurisprudence n'est pas un impératif pour la CRTFP, les parties voudront peut être considérer ces principes lors de l'établissement d'une entente sur les services essentiels.
- « Les inconvénients pour le public » ne sont pas un facteur valable à prendre en considération dans la détermination des services essentiels.
- La Commission privilégiera la prudence. Elle désignera un poste même s'il n'existe qu'une possibilité que la vie humaine ou la sécurité du public soit mise en danger. La Commission s'arrêtera toutefois aux tâches habituelles du fonctionnaire et non pas à celles qu'il pourrait exécuter dans des situations exceptionnelles hypothétiques. La notion de « sécurité » peut également être liée à de futures situations.
- Les tâches liées à la sécurité ne comprennent pas les tâches qui empêcheraient l'employeur ou le public de subir des préjudices économiques.
- L'état émotionnel, psychologique et mental des personnes n'est pas un facteur pris en compte dans la sécurité du public.
- Les fonctionnaires qui assurent l'entretien d'équipement / d'installations pouvant contribuer à l'exécution de tâches nécessaires pour assurer la sécurité du public.
- Le terme « public » a un sens large. Il comprend les fonctionnaires et les détenus.
- La Commission n'a pas le droit d'imposer des restrictions à l'employeur sur sa façon de mener les activités du gouvernement, sauf dans la mesure où les fonctionnaires désignés peuvent affecter la capacité de l'employeur de fournir certains services. La Commission n'est pas autorisée à déterminer le niveau de service.
- La Commission désignera les superviseurs des fonctionnaires désignés, mais en nombre réduit, même si cela peut signifier que les services en souffriront à long terme. Elle désignera également les spécialistes de l'administration centrale à Ottawa qui appuient les opérations.
Annexe B - Ententes sur les Services Essentiels (ESE) - Échéancier
Afficher l'image pleine dimension

(1) Avis de négocier :
- N'importe quand, si aucune convention collective ou décision arbitrale n'est en vigueur;
- Si une convention collective ou une décision arbitrale est en vigueur, dans les trois mois qui précèdent son expiration.
(2) Avis de négocier une ESE :
- Au plus tard 20 jours après l'envoi de l'avis de négocier.
(3) CIP :
- Demande de conciliation déposée par l'une ou l'autre partie;
- Avis du président indiquant son intention de recommander la mise sur pied d'une commission de l'intérêt public (CIP).
(4) Avis d'impasse :
- Au plus tard 15 jours après l'envoi d'une demande de conciliation;
- Avis du président indiquant son intention de mettre sur pied une CIP.
(5) Période d'examen de la Commission :
- La Commission peut reporter le traitement de la demande jusqu'à ce qu'elle soit convaincue que les parties ont fait tout effort raisonnable pour conclure une ESE.
(6) Droit de grève :
- 30 jours « francs » plus tard, c.-à-d. qu'il doit s'écouler 30 jours complets entre les événements.
(7) Signature d'une ESE ou ordonnance de la CRTFP :
- L'ESE demeure en vigueur jusqu'à ce que les parties conviennent qu'il n'y a plus de fonctionnaires dans l'unité de négociation qui occupe un poste nécessaire pour assurer la prestation des services essentiels.
(8) Avis de modification d'une ESE :
- Si une convention collective ou une décision arbitrale est en vigueur, l'avis peut être donné n'importe quand;
- Si un avis de négocier a été envoyé, l'avis ne peut être donné que dans la période de 60 jours suivant l'avis de négocier.
Annexe C - Services Essentiels : Formulaire D'examen de Poste
| INFORMATION SUR LE POSTE | PERSONNE-RESSOURCE AU SEIN DU MINISTÈRE |
|---|---|
| Nombre | Nom |
| Titre | Titre |
| Groupe et niveau | Numéro de téléphone |
| Endroit (p. ex. : direction générale, direction, division, etc.) | Courriel |
| Agent négociateur (c.-à-d. : élément) | Endroit (p. ex. : direction générale, direction, division, etc.) |
Code de service essentiel
| |
| Résumé des tâches | |
| Justification (service essentiel) | |
| Objections ou commentaires de l'agent négociateur | |
| Signature du représentant ministériel | Signature de l'agent négociateur |
Lignes directrices pour remplir le formulaire d'examen de poste concernant les services essentiels
Le formulaire doit être rempli pour chacun des postes considérés comme essentiels.
Information sur le poste :
Chaque champ doit être rempli.
Personne-ressource au sein du ministère :
Chaque champ doit être rempli.
Remarque :
La personne-ressource au sein du ministère doit connaître suffisamment le poste pour aider l'équipe du ministère à négocier l'entente sur les services essentiels avec l'équipe de l'agent négociateur.
Code de service essentiel :
- Code 1 : poste essentiel occupé par le titulaire;
- Code 2 : poste dont le titulaire servira de substitut à un poste essentiel;
- Code 3 : poste dont le titulaire doit effectuer les tâches dans les conditions particulières convenues par les parties (p. ex. : poste essentiel à certaines périodes de l'année, c.-à-d. besoin saisonnier);
- Code 4 : impasse au sujet du poste.
Résumé des tâches :
Le représentant ministériel doit joindre le résumé de la description du poste (p. ex. : sections Résultats axés sur le service à la clientèle et Activités principales de la description de travail NGC) au formulaire d'examen. Lorsque la présentation est accompagnée d'une description de travail NGC, on doit donner dans cette section un résumé détaillé des activités principales du poste.
Remarque :
Si l'on soumet plusieurs postes comportant les mêmes tâches, on peut fournir un seul résumé ou extrait de la description de travail. Tous les postes connexes doivent faire référence à cette description ou résumé.
Justification (service essentiel) :
- Code 1 : Expliquer clairement pourquoi le poste est considéré essentiel pour assurer la sécurité du public. Assurez-vous que le résumé des tâches reflète la justification;
- Code 2 : Déterminer le poste principal;
- Code 3 : Indiquer clairement les conditions dans lesquelles le titulaire devra se présenter au travail;
- Code 4 : Expliquer les raisons de l'impasse.
Objections ou commentaires de l'agent négociateur :
Espace réservé à l'agent négociateur.
Espace réservé à l'agent négociateur.
Annexe D - Négociation de l'entente sur les services essentiels
Annexe E - Libellé d'avis - Exemple
Conformément au paragraphe 130(1) de la Loi sur les relations de travail dans la fonction publique (LRTFP), le présent avis vise à vous informer que le poste que vous occupez est considéré comme un poste nécessaire pour assurer la prestation d'un service essentiel. La loi définit un service essentiel comme suit : « Services, installations ou activités du gouvernement du Canada qui sont ou seront nécessaires à la sécurité de tout ou partie du public ».
En tant que fonctionnaire occupant un poste nécessaire pour assurer la prestation des services essentiels, l'article 196 de la LRTFP vous interdit de prendre part à une grève. De plus, l'article 201 de cette même loi prévoit que si vous contrevenez à l'article 196, vous commettez une infraction et vous encourez, sur déclaration de responsabilité par procédure sommaire, une amende maximale de 1 000 $.
Le présent avis demeure en vigueur tant que vous occupez votre poste ou jusqu'à avis contraire.

